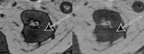
64-Year-Old Man With Clear Cell Likelihood Score (ccLS) 5 Renal Masses. Coronal T2-weighted single shot fast spin echo and coronal T1-weighted fat-saturated spoiled gradient echo acquired during corticomedullary phase—ccLS5 lesion outlined red for clarity.
July 22, 2021 — According to ARRS’ American Journal of Roentgenology (AJR), the standardized non-invasive clear cell likelihood score (ccLS) — derived from MRI — correlates with the growth rate of small renal masses (cT1a, ≤4 cm) and may help guide personalized management.
Extracted from clinical reports, “the ccLS scores the likelihood that the small renal mass represents clear cell renal cell carcinoma, from 1 (very unlikely) to 5 (very likely),” explained corresponding author Ivan Pedrosa from the University of Texas Southwestern Medical Center at Dallas. “Small renal masses with lower ccLS may be considered for active surveillance, whereas small renal masses with higher ccLS may warrant earlier intervention.”
Pedrosa and colleagues’ retrospective study included consecutive small renal masses assigned a ccLS on clinical MRI examinations performed between June 2016 and November 2019 at an academic tertiary-care medical center or its affiliated safety net hospital system. Tumor size measurements were extracted from available prior and follow-up cross-sectional imaging examinations, through June 2020.
Among 389 small renal masses in 339 patients (198 men, 141 women; median age, 65 years) on active surveillance that were assigned a ccLS on clinical MRI examinations, those with ccLS4–5 grew significantly faster (9% diameter, 29% volume yearly) than those with ccLS1–2 (5% diameter, p<.001; 16% volume, p<.001) or ccLS3 (4% diameter, p<.001; 15% volume, p<.001).
Noting that the lack of validated imaging markers to characterize biologic aggressiveness of small renal masses hinders medical decision making among available initial management strategies, “growth is associated with ccLS in small renal masses,” the authors of this AJR article reiterated, “with higher ccLS correlating with faster growth.”
For more information: arrs.org
December 15, 2025 